Radarová technika
-
Alchymista
- Redakční rada
- Příspěvky: 54796
- Registrován: 01 úno 2017, 08:58
Re: Radarová technika
OTH (over-the-horizon) radary boli v základnej forme určené predovšetkým na detekciu dvoch druhov cieľov:
- veľmi rýchlych, s rýchlosťami výrazne prevyšujúcimi 1km/s
- veľkých kovových objektov na morskej hladine
Väčšina starších (ale i mnoho nových) OTH radrov má fyzicky oddelené vysielače a prímače - vzdialenosť medzi vysielačom a prímačom môže byť stovky metrov, ale tiež až desiatky kilometrov a niektoré typy (robia ich všetci - nielen rusi a číňania, ale i briti, američania a francúzi...) môžu mať kombináciu niekoľkých vysielacích a prímacích staníc, v Číne dokonca pracujú na systéme, kde jednu zo staníc zastupuje veľké výškové bezpilotné lietadlo.
- veľmi rýchlych, s rýchlosťami výrazne prevyšujúcimi 1km/s
- veľkých kovových objektov na morskej hladine
Väčšina starších (ale i mnoho nových) OTH radrov má fyzicky oddelené vysielače a prímače - vzdialenosť medzi vysielačom a prímačom môže byť stovky metrov, ale tiež až desiatky kilometrov a niektoré typy (robia ich všetci - nielen rusi a číňania, ale i briti, američania a francúzi...) môžu mať kombináciu niekoľkých vysielacích a prímacích staníc, v Číne dokonca pracujú na systéme, kde jednu zo staníc zastupuje veľké výškové bezpilotné lietadlo.
COVID-19 nie je choroba, COVID-19 je globálny test inteligencie jedincov, spoločenstiev, národov a štátov.
Dinosauri sa venovali výhradne problémom vlastného rastu.
Dinosauri sa venovali výhradne problémom vlastného rastu.
-
kenavf
- Sponzor fóra
- Příspěvky: 12595
- Registrován: 07 úno 2017, 19:59
Re: Radarová technika
Takže by mohol dávať súradnice protilodným strelam s dlhým dosahom.
V tom videu je mapa a vyzerá to že je tam kruhová výseč ktorá zobrazuje minimálny dosah.
Mohlo by to dosiahnuť aj do Sýrie.
"Mravní bída je příčina, hospodářský úpadek je následek".-T.Baťa.
"Jediné čo potrebujú nečisté síly k svojmu víťazstvu je to, aby slušní ľudia neurobili nič." -Edmund Burke.
"Jediné čo potrebujú nečisté síly k svojmu víťazstvu je to, aby slušní ľudia neurobili nič." -Edmund Burke.
- WuVirr
- Šéfredaktor
- Příspěvky: 5685
- Registrován: 01 úno 2017, 15:31
Re: RF - Prostředky PVO
Nový ruský radiolokační systém "Kontejner"
Ruský Kontejněr pokryje evropské členy NATO
Rusko připravuje státní zkoušky radiolokačních stanic nového typu Kontejněr, které vidí za horizont. První stanice má přijít do zkušební služby na začátku roku 2019. Novinám Russkaja gazeta to sdělil generální ředitel Vědecko-výzkumného ústavu vzdálené radiokomunikace Kirill Makarov.
Ruský Kontejněr pokryje evropské členy NATO
Rusko připravuje státní zkoušky radiolokačních stanic nového typu Kontejněr, které vidí za horizont. První stanice má přijít do zkušební služby na začátku roku 2019. Novinám Russkaja gazeta to sdělil generální ředitel Vědecko-výzkumného ústavu vzdálené radiokomunikace Kirill Makarov.
Více zde: https://cz.sputniknews.com/svet/2018091 ... ice-rusko/Podle jeho slov zatímco obyčejné radary sledují letadlo na vzdálenost maximálně 400 km, radiolokační stanice typu Kontejněr ho bude vidět na vzdálenost 2000 km. „Prakticky celou vzdušnou situaci evropské části bloku NATO budeme mít zcela pod kontrolou. A vyslat nepozorovaně do vzduchu raketonosné bombardéry nebo roj bojových dronů se už nepodaří," řekl generální ředitel.
-
Beda
- Samostatný redaktor
- Příspěvky: 1190
- Registrován: 01 úno 2017, 13:27
Re: RF - Prostředky PVO
Vzdyt takovy bazmek, jen se starou elektronikou stoji v Cernobylu a jiste na nekolika jinych mistech. U takoveho typu je problem smerovani, je to postavene napevno a ten poprsek asi moc ovlivnovat nejde. Zmenila se doba, nove smery odkud muze prijit ohrozeni tak si na ten smer postavi novy.Podle jeho slov zatímco obyčejné radary sledují letadlo na vzdálenost maximálně 400 km, radiolokační stanice typu Kontejněr ho bude vidět na vzdálenost 2000 km. „Prakticky celou vzdušnou situaci evropské části bloku NATO budeme mít zcela pod kontrolou. A vyslat nepozorovaně do vzduchu raketonosné bombardéry nebo roj bojových dronů se už nepodaří," řekl generální ředitel.
Pri slunecnim maximu na hornich pasmech od 21 MHz do 30 MHz neni vzacnost ze svuj signal o vykonu 100W slysim s ozvenou, tak to obleti zemekouli. Tak od toho vyslaneho signalu o stovkach KW tech odrazu musi prijit dost, jen jde o to zpracovat to a to asi umi.
Ty radiove signaly se siri ruzne a porad se prichazi s novinkama. Na VHF a UHF je nekolik let znamo ze se signaly v desitkach W odrazi od leticich letadel....uz na to jsou SW co berou info o startech letadel, kudy poleti a vypocitavaji cas kdy bude sance na spojeni.
Tak kdovi co k tomu vyuzivaji, reknou dalky dosah, ale jak toho dosahnou uz nereknou.
Treba slunicko dokaze zionizovat poletujici prach i ionosfere, to tvori pro VHF odrazovou plochu pro signal, ty jsou extreme silne, jako od mistni stanice. JPP rikala ze rusove meli stanici ktera velky vykon poslala kolmo vzhuru, udelalo to take odrazovou plochu a mohlo se odrazem komunikovat na velke vzdalenosti. To asi zaniklo ted v dobe druzic.
Americky radioamater K1JT dela SW pro dalkova spojeni pro NASA a tak z toho neco uvolnili pro pouziti radioamaterum. Treba drive k telegrafnimu spojeni odrazem od mesice byl potreba vykon od 1 kW a vys, systemy i 16 anten dluhych yagi, ted staci 100W a jedna antena, je to digitalni prenos a uchem nic neslysite a ono to pise po obrazovce. Tak kdyz neco takoveho pro nas uvolni, jiste maji uz neco noveho.
Jak pise petrP, doba analogoveho radaru je uz prekonana a v tom digitalnim veku jsou moznosti ktere nepochopime.
Uz Hitler stehoval radary do Rumunska s tim ze odrazem od nebeske klenby budou videt do Anglie, asi to nedotahli do konce, ted to bude skutecnost. Od ionosfery se signal odrazi, kmitocet zalezi na denni dobe, rocni dobe, slunecni aktivite, signal se o spravnem kmitoctu pro tu dobu odrazi k zemi, vyssi projde bez odrazu. Tenkrat asi neumeli v tak sirokem rozsahu menit kmitocet. Ty radary za horizont vysilaji nekolika vterinove signaly pripominajici tukani datla a tak je obcas zaslechneme, take je slyset ze se preladuji. Kdovi jak to potom zpracovavaji. Pro nas nepochopitelne, ale kdyby to neumeli, nebudou to stavet, pouzivaji to desitky let a tak s rozvojem elektroniky jim to jde porad lepe. To uz s tema radarama za WWI ma jen spolecny nazev.
- skflanker_
- Sponzor fóra
- Příspěvky: 11330
- Registrován: 07 úno 2017, 20:22
Re: Radarová technika
Spomínaný radar má celokruhové pokrytie - viď jeho satelitné foto:
1. sústava
https://www.google.com/maps/@53.9839854 ... a=!3m1!1e3
= rovnoramenný trojuholník
2. sústava
https://www.google.com/maps/@53.8841392 ... a=!3m1!1e3
= hviezda 120°
t.j. vždy 3 radarové cca 14,5km od seba
Viac info napríklad http://charly015.blogspot.com/2018/12/n ... r-oth.html
1. sústava
https://www.google.com/maps/@53.9839854 ... a=!3m1!1e3
= rovnoramenný trojuholník
2. sústava
https://www.google.com/maps/@53.8841392 ... a=!3m1!1e3
= hviezda 120°
t.j. vždy 3 radarové cca 14,5km od seba
Viac info napríklad http://charly015.blogspot.com/2018/12/n ... r-oth.html
-
Marfil
- Samostatný redaktor
- Příspěvky: 1462
- Registrován: 18 úno 2017, 14:08
Re: Radarová technika
Kam dovidí oko Kontajnera D
-
kenavf
- Sponzor fóra
- Příspěvky: 12595
- Registrován: 07 úno 2017, 19:59
Re: Radarová technika
Keby dali jeden takový Kontajner na Kubu alebo do Venezuely!
Alebo na tie svoje ostrovy v Beringovej úžine.
Alebo na tie svoje ostrovy v Beringovej úžine.
"Mravní bída je příčina, hospodářský úpadek je následek".-T.Baťa.
"Jediné čo potrebujú nečisté síly k svojmu víťazstvu je to, aby slušní ľudia neurobili nič." -Edmund Burke.
"Jediné čo potrebujú nečisté síly k svojmu víťazstvu je to, aby slušní ľudia neurobili nič." -Edmund Burke.
- skflanker_
- Sponzor fóra
- Příspěvky: 11330
- Registrován: 07 úno 2017, 20:22
Re: Radarová technika
Firma Raytheon na ďalekom severe v Kanade postaví 2 zahorizontálne radary
Firma Raytheon na ďalekom severe v polárnych oblastiach Kanady postaví 2 zahorizontálne radary (OTH) za 30 miliónov $. Budú overovať vplyv polárnej žiary na schopnosť identifikácie cieľov.
Zdroj https://www.armyrecognition.com/decembe ... anada.html z 07.12.2018
Firma Raytheon na ďalekom severe v polárnych oblastiach Kanady postaví 2 zahorizontálne radary (OTH) za 30 miliónov $. Budú overovať vplyv polárnej žiary na schopnosť identifikácie cieľov.
Zdroj https://www.armyrecognition.com/decembe ... anada.html z 07.12.2018
-
Beda
- Samostatný redaktor
- Příspěvky: 1190
- Registrován: 01 úno 2017, 13:27
Re: Radarová technika
Kdyz je polarni zare silnejsi, odrazi to VHF kmitocty, delame pres to telegrafni QSO na 144 MHz. Byva to smerove, neodrazi se to do vsech smeru, pokazde jinam.skflanker_ píše: ↑09 pro 2018, 18:28Firma Raytheon na ďalekom severe v Kanade postaví 2 zahorizontálne radary
Firma Raytheon na ďalekom severe v polárnych oblastiach Kanady postaví 2 zahorizontálne radary (OTH) za 30 miliónov $. Budú overovať vplyv polárnej žiary na schopnosť identifikácie cieľov.
Zdroj https://www.armyrecognition.com/decembe ... anada.html z 07.12.2018
-
kenavf
- Sponzor fóra
- Příspěvky: 12595
- Registrován: 07 úno 2017, 19:59
Re: Radarová technika
Zaujímavá cena pre taký projekt!
Bol by som zvedavý čo dokáže americká zbrojárska firma postaviť na ďalekom kanadskom severe za 30mil dolárov.
Bol by som zvedavý čo dokáže americká zbrojárska firma postaviť na ďalekom kanadskom severe za 30mil dolárov.
"Mravní bída je příčina, hospodářský úpadek je následek".-T.Baťa.
"Jediné čo potrebujú nečisté síly k svojmu víťazstvu je to, aby slušní ľudia neurobili nič." -Edmund Burke.
"Jediné čo potrebujú nečisté síly k svojmu víťazstvu je to, aby slušní ľudia neurobili nič." -Edmund Burke.
-
Juraj
- Redaktor - závislák :-)
- Příspěvky: 6274
- Registrován: 16 úno 2017, 21:19
Re: Radarová technika
Rusko uvedie tento rok do prevádzky nový zahorizontálny radar Konteiner. Bude umiestnený v republike Mordovia, Jeho dosah je 2500km a je schopný detekovať ciele v 240 stupnovom sektore
https://tass.ru/armiya-i-opk/5979565
https://tass.ru/armiya-i-opk/5979565
- puma
- Redaktor - závislák :-)
- Příspěvky: 22064
- Registrován: 17 zář 2017, 12:49
Re: Radarová technika
Schéma vyvíjeného ruského radiofotonického radaru

http://tehnoomsk.ru/node/3244
64 AESA T/R modulů svedených do jednoho "fotonického uzlu", což by teoreticky mohlo stačit pro vytváření naváděcích radiolokačních hlavic i pro PLŘS.
Starší prototyp klasické AESA hlavice pro R-77 s 64 T/R modulů

http://tehnoomsk.ru/node/3244
64 AESA T/R modulů svedených do jednoho "fotonického uzlu", což by teoreticky mohlo stačit pro vytváření naváděcích radiolokačních hlavic i pro PLŘS.
Starší prototyp klasické AESA hlavice pro R-77 s 64 T/R modulů
Nechť tě provází Síla! Není nevědomosti, pouze poznání.
- puma
- Redaktor - závislák :-)
- Příspěvky: 22064
- Registrován: 17 zář 2017, 12:49
Re: Radarová technika
Ruská armáda nasadila v Arktidě mobilní radarový komplex "Resonance-N" s prvky umělé inteligence.
Moderní radar je schopen rozpoznat střely s plochou dráhou letu a UAV vzdálené tisíc kilometrů.
https://tass.ru/armiya-i-opk/6024907
Moderní radar je schopen rozpoznat střely s plochou dráhou letu a UAV vzdálené tisíc kilometrů.
https://tass.ru/armiya-i-opk/6024907
Nechť tě provází Síla! Není nevědomosti, pouze poznání.
-
kenavf
- Sponzor fóra
- Příspěvky: 12595
- Registrován: 07 úno 2017, 19:59
Re: Radarová technika
http://www.osel.cz/10738-sen-se-stal-sk ... radar.htmlSen se stal skutečností: Přichází kvantový radar
"Mravní bída je příčina, hospodářský úpadek je následek".-T.Baťa.
"Jediné čo potrebujú nečisté síly k svojmu víťazstvu je to, aby slušní ľudia neurobili nič." -Edmund Burke.
"Jediné čo potrebujú nečisté síly k svojmu víťazstvu je to, aby slušní ľudia neurobili nič." -Edmund Burke.
- Svarboj
- Senior redaktor
- Příspěvky: 3860
- Registrován: 24 úno 2017, 17:09
Re: Radarová technika
Německý radar prý dokázal zachytit stealth stíhačku F-35
Nejdůležitější výhoda americké stíhačky F-35 má být obtížná zjistitelnost radarem. Německá firma Hensoldt tvrdí, že její radar dokáže letadlo odhalit. Neznamená to ale konec stealth technologie.
https://www.armadninoviny.cz/nemecky-ra ... -f-35.html
Otázka tedy zní: Jaké je frekvenční pokrytí takových lunebergových čoček? Pokud bude letoun ozářen "metrovým" VHF radarem - budou mít čočky vliv na jeho detekci nebo ne?
Nejdůležitější výhoda americké stíhačky F-35 má být obtížná zjistitelnost radarem. Německá firma Hensoldt tvrdí, že její radar dokáže letadlo odhalit. Neznamená to ale konec stealth technologie.
https://www.armadninoviny.cz/nemecky-ra ... -f-35.html
Jak já tomu rozumím, tak firma Hensoldt systém ADS-B použila jen pro ověření detekce "neviditelné" F-35 a nikoliv jiného (konvenčního) letounu.- Souboj stíhaček F-35 s radarem Twlnvis byl zřejmě velmi nespravedlivý. Radar byl ve výhodě. Letouny F-35 měly zapnuté vysílače systému ADS-B (Automatic Dependent Surveillance—Broadcas). Je to technologie, jejímž prostřednictvím letadla v pravidelných intervalech oznamují svou polohu, zjištěnou pomocí GPS.
- Společnost Hensoldt tvrdí, že data ze systému ADS-B použila jen k ověření správnosti měření svého radiolokátoru.
O těch odražečích/lunebergových čočkách se tu už mluvilo. Je známa jejich velikost a rozmístění na F-35, alespoň těch viditelných montovaných na potah, viz foto http://i.imgur.com/MSbniFd.jpg.- Kromě ADS-B měly stíhačky namontované i radarové odražeče. Je to zařízení, které zviditelňuje stealth letoun pro běžné radiolokátory, pokud se účastní civilního leteckého provozu.
- Odražeče podle ní neměly na práci radaru Twlnvis vliv. Web The Aviationist to ovšem zpochybňuje.
- Podle C4ISRnet.com jim jako zdroj elektromagnetického záření posloužily polské FM vysílače, jejichž signál zasahuje hluboko do německého území.
Otázka tedy zní: Jaké je frekvenční pokrytí takových lunebergových čoček? Pokud bude letoun ozářen "metrovým" VHF radarem - budou mít čočky vliv na jeho detekci nebo ne?
Quae volumus, credimus libenter. – „Co si přejeme, tomu ochotně věříme.“
-
Alchymista
- Redakční rada
- Příspěvky: 54796
- Registrován: 01 úno 2017, 08:58
Re: Radarová technika
Teoreticky sú Luneburgove šošovky frekvenčne nezávislé. Prinajmenšom do tej miery, nakoľko sú frekvenčne nezávislé indexy lomu a dielektrické konštanty použitého materiálu. A samozrejme - na rozmeroch záleží, takže šošovka/odražač pre decimetrové pásmo sa v metrovom pásme príliš neuplatní.
Vtip je v tom, že kútové odražače, ani luneburgove šošovky neovplyvnia RCS pri popisovanej techniky rádiolokácie, s fyzicky rozdeleným vysielačom a prímačom. Signál odrazený od kútových odražačov sa odráža k vysielaču - ale nie k prímaču o desiatky kilometrov "inde".
Vtip je v tom, že kútové odražače, ani luneburgove šošovky neovplyvnia RCS pri popisovanej techniky rádiolokácie, s fyzicky rozdeleným vysielačom a prímačom. Signál odrazený od kútových odražačov sa odráža k vysielaču - ale nie k prímaču o desiatky kilometrov "inde".
COVID-19 nie je choroba, COVID-19 je globálny test inteligencie jedincov, spoločenstiev, národov a štátov.
Dinosauri sa venovali výhradne problémom vlastného rastu.
Dinosauri sa venovali výhradne problémom vlastného rastu.
-
Juraj
- Redaktor - závislák :-)
- Příspěvky: 6274
- Registrován: 16 úno 2017, 21:19
Re: Radarová technika
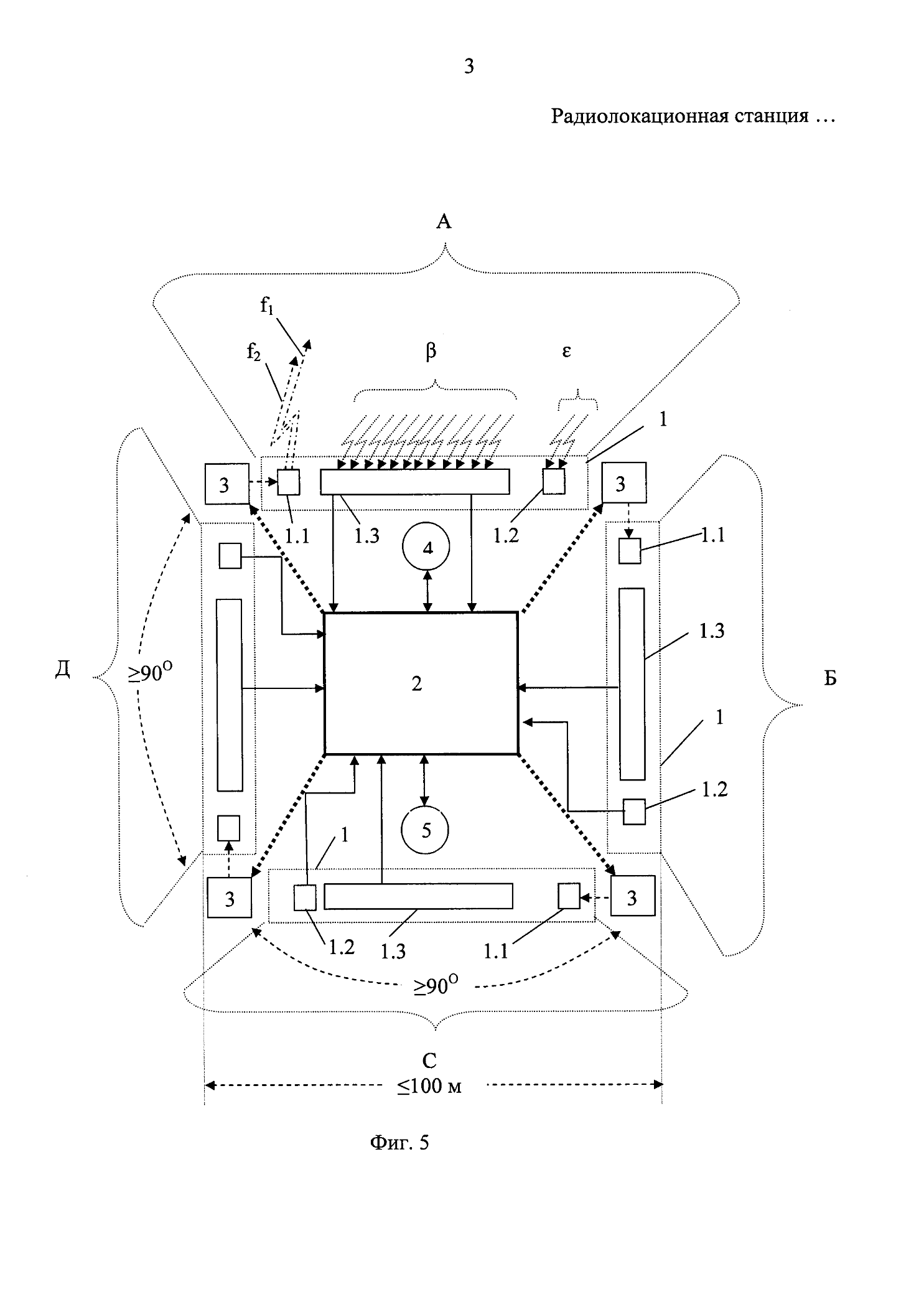
Rusko uz od minuleho roka prevadzkuje zahorizontalny radar Kontajner na zapadnom smere. Ciele sleduje odrazom od ionosfery na decimetrovych vlnach. Kedze jeho slepa zona je okolo 900km, lokacia prijimacej stanice je hlboko vo vnutri Ruska v okoli Mordovie

Vysielacia cast stanice je v Niznonovgorodskej oblasti

Rusi planuju postavit celkove styri tieto stanice. Druha bude na vychode krajiny, dalsia na severe a stvrta bude mat na starosti juzny smer.
Pre blizku zonu v okoli hranic Rusi vyvinuli radar Podsolnuch (Slnečnica) pracujuci na podobnych principoch, ale v inom rozsahu. Exportna varianta Podsolnuch-E zaregistruje lietadlo vo vyske 9km na vzdialenost 450km a lod s vytlakom 5tisic ton na vzdialenost 300km. Sucasne vie sledovat 200 lodi a 100 vzdusnych cielov, vratane tzv. stealth. Informacie o cieloch odovzdava dalej systemom protivzducnej obrany. Prvy Podsolnuch zacal pracovat v Kaspickej oblasti a lode Kaspickej flotily na cviceniach zistili prudky narast ucinnosti PVO. Dalsie dva systemy boli nasadene na Dalekom vychode a v Pobaltskej oblasti
O Kontajneroch nie je dokopy nic zname, predpoklada sa odhalovanie vzdusnych cielov vo vzdialenosti okolo 3000km, pricom vie sledovat sucasne 5tisic objektov rozlicneho druhu. Radar vie registrovat v zone svojej posobnosti vsetky pohyby objektov vratane startu balistickych, hyperzvukovych a "krizujucich" rakiet. Vie takisto sledovat ich trajektoriu a odovzdavat udaje protivzdusnej obrane umoznujuce zameranie a zostrelenie daneho ciela.
Uvedene radary vsak nie su nosnou castou Systemu varovania pred raketovym napadnutim. Tuto ulohu na zemi plnia radary Voronez, ktore sleduju hlavne hrozbu utoku medzikontinentalnymi balistickymi raketami. V roku 2006 zacal pracovat v Leningradskej oblasti prvy Voronez-M na metrovych vlnach, ktory pokryval oblast od Maroka do Spicbergov. Neskorsie varianty Voronez-DM a Voronez-SM pracuju v decimetrovom a centimetrovom pasme. Tieto stanice su rozmiestnene v Kaliningradskej, Irkutskej, Orenburgskej oblasti, v Krasnodarskom, Krasnojarskom a Altajskom kraji. Do roku 2024 sa planuje spustenie Voroneza na Kryme.
https://ria.ru/20191031/1560412425.html
https://www.bbc.com/russian/news-50234111
Vysielacia cast stanice je v Niznonovgorodskej oblasti
Rusi planuju postavit celkove styri tieto stanice. Druha bude na vychode krajiny, dalsia na severe a stvrta bude mat na starosti juzny smer.
Pre blizku zonu v okoli hranic Rusi vyvinuli radar Podsolnuch (Slnečnica) pracujuci na podobnych principoch, ale v inom rozsahu. Exportna varianta Podsolnuch-E zaregistruje lietadlo vo vyske 9km na vzdialenost 450km a lod s vytlakom 5tisic ton na vzdialenost 300km. Sucasne vie sledovat 200 lodi a 100 vzdusnych cielov, vratane tzv. stealth. Informacie o cieloch odovzdava dalej systemom protivzducnej obrany. Prvy Podsolnuch zacal pracovat v Kaspickej oblasti a lode Kaspickej flotily na cviceniach zistili prudky narast ucinnosti PVO. Dalsie dva systemy boli nasadene na Dalekom vychode a v Pobaltskej oblasti
O Kontajneroch nie je dokopy nic zname, predpoklada sa odhalovanie vzdusnych cielov vo vzdialenosti okolo 3000km, pricom vie sledovat sucasne 5tisic objektov rozlicneho druhu. Radar vie registrovat v zone svojej posobnosti vsetky pohyby objektov vratane startu balistickych, hyperzvukovych a "krizujucich" rakiet. Vie takisto sledovat ich trajektoriu a odovzdavat udaje protivzdusnej obrane umoznujuce zameranie a zostrelenie daneho ciela.
Uvedene radary vsak nie su nosnou castou Systemu varovania pred raketovym napadnutim. Tuto ulohu na zemi plnia radary Voronez, ktore sleduju hlavne hrozbu utoku medzikontinentalnymi balistickymi raketami. V roku 2006 zacal pracovat v Leningradskej oblasti prvy Voronez-M na metrovych vlnach, ktory pokryval oblast od Maroka do Spicbergov. Neskorsie varianty Voronez-DM a Voronez-SM pracuju v decimetrovom a centimetrovom pasme. Tieto stanice su rozmiestnene v Kaliningradskej, Irkutskej, Orenburgskej oblasti, v Krasnodarskom, Krasnojarskom a Altajskom kraji. Do roku 2024 sa planuje spustenie Voroneza na Kryme.
https://ria.ru/20191031/1560412425.html
https://www.bbc.com/russian/news-50234111
- puma
- Redaktor - závislák :-)
- Příspěvky: 22064
- Registrován: 17 zář 2017, 12:49
Re: Radarová technika
Ruské patenty na kruhovou radarovou přehledovou stanici Resonance. Spousta zajímavých informací.
anglicky https://patents.google.com/patent/RU2624736C2/en
Na co všechno člověk nenarazí omylem, o tom jsem ani nevěděl, že existuje veřejně, tak detailně popsaná funkčnost Resonance, zarážející je ten frekvenční rozsah při testu s Orlanem-3, kdy se mění frekvence od 300MHz (VHF) přes UHF, celé L pásmo (1-2 GHz) až do 3GHz (S pásma 2-4GHz).
https://patentimages.storage.googleapis ... 4736C2.pdf"V experimentu /9/ detekce rezonance bezpilotního leteckého prostředku Orlan-3 (UAV) se frekvence měnila od 300 MHz (A = 1 m) do 3 GHz (A = 10 cm). Experiment byl opakován 3krát. Měření EPR jsou znázorněna na obr.3.
Z nich lze vidět, že při průměrné hodnotě EPR řádově σ cf ≈0,03 m2 při rezonančních podmínkách dosahuje hodnota EPR 0,16 m2 , což je 5krát více, než je průměrná hodnota EPR σ cf. K rezonanci dochází při frekvenci řádově 2780 MHz, což odpovídá vlnové délce λ p≈ 10,8 cm. To znamená, že velikost Orlanu-3, co odráží UAV v nulovém úhlu záběru je přibližně 5,4 cm.
anglicky https://patents.google.com/patent/RU2624736C2/en
Na co všechno člověk nenarazí omylem, o tom jsem ani nevěděl, že existuje veřejně, tak detailně popsaná funkčnost Resonance, zarážející je ten frekvenční rozsah při testu s Orlanem-3, kdy se mění frekvence od 300MHz (VHF) přes UHF, celé L pásmo (1-2 GHz) až do 3GHz (S pásma 2-4GHz).
Nechť tě provází Síla! Není nevědomosti, pouze poznání.
-
false_flag
- Redaktor - závislák :-)
- Příspěvky: 10211
- Registrován: 27 čer 2017, 23:20
Re: Radarová technika
Nejsou náhodou patentové úřady zdrojem informací pro nepřítele?
Pokud mým příspěvkům nerozumíte, jsou pro Vás urážlivé, či kolidují s Vaším viděním světa. Nerozčilujte se.
Není třeba reagovat. Klid. Vše je v pořádku. Ignorujte je. Nejsou určeny Vám.
Není třeba reagovat. Klid. Vše je v pořádku. Ignorujte je. Nejsou určeny Vám.
-
QVAK
- Redaktor - závislák :-)
- Příspěvky: 11615
- Registrován: 07 úno 2017, 16:20
Re: Radarová technika
Pouze pro aplikovaný výzkum určuje cesty ale po těch musí být schopen jít sám a to je ten jeho největší problém který nevyřeší objem investovaných peněz ale kvalita pochodujících lidí.
